【GL41-10/16 Y型過濾器產品用途】
適用行業包括建筑、化工、電力、冶金、橡膠、造紙、輕紡、煤炭、食品等行業。特別是應用在工廠循環水利用中,使之水資源大限度的有效使用。y型過濾器是輸送介質的管道系統不可缺少的一種裝置,y型過濾器通常安裝在減壓閥、泄壓閥、定水位閥或其它設備的進口端,用來清除介質中的雜質,以保護閥門及設備的正常使用。其作用是過濾介質中的機械雜質,可以對污水中的鐵銹、沙粒、液體中少量固體顆粒等進行過濾以保護設備管道上的配件免受磨損和堵塞,可保護設備的正常工作。
【GL41-10/16 Y型過濾器產品特點】
1、結構簡單,可靠性強;
2、拆裝方便,易清洗、維護;
3、濾網規格多,滿足不同場合過濾要求;
4、價格低廉,使用壽命長。
【GL41-10/16 Y型過濾器主要零件材料】
零件名稱 | 材料 |
閥體 | HT200、QT450、WCB、304、316 |
閥蓋 | HT200、QT450、WCB、304、316 |
過濾網 | 不銹鋼 |
【GL41-10/16 Y型過濾器性能參數】
型號 | 公稱壓力 | 試驗壓力 | 工作溫度 | 適用介質 |
強度(水) | 密封(水) |
GL41-10/16 Y型過濾器 | 1.6 | 2.4 | 1.6 | ≤180 | 水、蒸汽 |
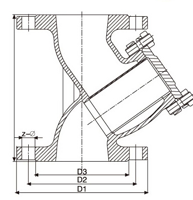
【GL41-10/16 Y型過濾器外形和連接尺寸】
通徑DN | L | D1 | D2 | D2 | b | Z-фd |
40 | 150 | 150 | 110 | 110 | 14 | 4-ф19 |
50 | 165 | 165 | 125 | 125 | 16 | 4-ф19 |
65 | 190 | 185 | 145 | 145 | 16 | 4-ф19 |
80 | 220 | 200 | 160 | 160 | 16 | 8-ф19 |
100 | 250 | 220 | 180 | 180 | 18 | 8-ф19 |
125 | 300 | 250 | 210 | 210 | 20 | 8-ф19 |
150 | 380 | 285 | 240 | 240 | 20 | 8-ф23 |
200 | 430 | 340 | 295 | 295 | 22 | 8-ф23 |
250 | 480 | 405 | 350 | 355 | 24 | 12-ф23 |
300 | 520 | 460 | 400 | 410 | 26 | 12-ф23 |
350 | 625 | 520 | 460 | 470 | 30 | 16-ф23 |
400 | 637 | 580 | 515 | 525 | 30 | 16-ф23 |
450 | 796 | 640 | 565 | 585 | 34 | 20-ф23 |
500 | 853 | 715 | 620 | 650 | 36 | 20-ф28 |
600 | 1025 | 840 | 725 | 770 |
| 20-ф31 |
【GL41-10/16 Y型過濾器結構圖片】
